QR code
Over ons
Producten
Neem contact met ons op

Telefoon

Fax
+86-579-87223657

E-mailen

Adres
Wangda Road, Ziyang Street, Wuyi County, Jinhua City, provincie Zhejiang, China
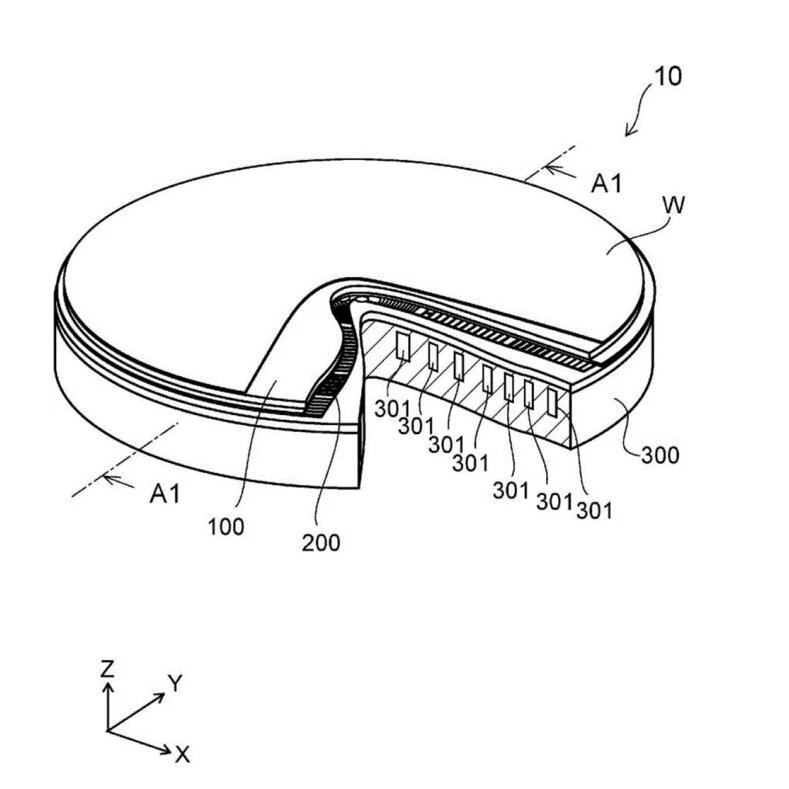
Het DecHuck -principe van deElektrostatische chuckis een belangrijk onderdeel van zijn workflow waarbij elektrostatische krachten eliminatie en mechanismen voor wafelafgifte betrokken zijn. Het volgende is een gedetailleerde analyse:
De kern van Dechuck is het elimineren of neutraliseren van de elektrostatische kracht die op de wafel wordt geadsorbeerd, en de specifieke methoden omvatten:
Youdaoplaceholder0 snijdt de stroom af
Stop met het aanbrengen van een directe stroomspanning op de elektrode om het elektrische veld geleidelijk te elimineren.
Youdaoplaceholder0 omgekeerde spanning of gasinjectie
Sommige systemen zullen omgekeerde spanning toepassen of inerte gassen (zoals hij, n₂) introduceren om ladingsneutralisatie of fysieke scheiding te versnellen.
Laten we de professionele technieken van ESC -productie vergelijken en eerst kijken of het bedrijf een dergelijke schaal kan bereiken.
CAE -analysetechnologie, plaatfunctionele materialen, elektrode -ontwerp, analysetechnologie, koelkanaaltechnologie, verwarmingsontwerptechnologie, senior personeel in halfgeleiderapparatuur.
Japanse en Zuid -Koreaanse bedrijven moeten volledig bemand zijn met dergelijk relevant personeel. Zo niet, dan is het niet nodig om te praten over de technologie van het bedrijf.
De Chuck -technologie, elektroden, schijven en zelfs het HE Flow -principe zijn nog niet opgehelderd. Laten we een ruwe elektrostatische zuigbeker maken. Dergelijke bedrijven worden direct doorgegeven. Ze worden in feite gebruikt om het geld van beleggers in toom te houden. Dit is het basisniveau van Know How. Beleggers moeten ook een bedrijf opgeven dat met kaartspellen speelt en geen werknemers heeft met meer dan 10 jaar ervaring in het etsen van apparatuur, omdat dit geen bedrijf is dat praktische dingen doet.
Als het gaat om poedervuur in de industrie, bevindt iedereen zich op hetzelfde gebied. Elk heeft zijn eigen unieke formule. Welke heeft niet de kracht om te worden uitgerust met gesinterde keramische oppervlakken? Beleggers kunnen ook deze configuraties of bedrijven doorgeven die ze niet volledig hebben begrepen, omdat hun fundamentele logica hetzelfde is: ze willen geld verdienen, niet om producten te ontwikkelen.
Wat de reparatie betreft, moeten veel binnenlandse bedrijven inmiddels de overeenkomstige mogelijkheden voor L1 tot L3 hebben. Zelfs als de mogelijkheden een beetje ontbreken, kan L1 het nog steeds aan. Voor L3 en hoger kan het niet worden gerepareerd of kan het worden uitgegeven. In elk geval is er nog steeds een manier om het te repareren.
L1 Reparatieoppervlakreparatie, verbetering van de oppervlakteruwheid/platigheidsverbetering/bultregeneratie.
L2 Reparatie: Reparatie van de gewricht laag, rebonding van de metalen basis en keramische schijf/hervulling van de gewricht laag.
L3 Reparatie keramische schijfvervanging, keramische schijfproductie/rebonding van metalen basis en keramische schijf.
Guangdong Haituo Innovation Precision Equipment Technology Co., Ltd
Het bedrijf bekleedt een leidende positie in het ontwerp en de productie van binnenlandse elektrostatische klootzakken en apparatuur op basis van elektrostatische klootzakken als kerntechnologie. Op dit moment heeft Haituo Innovation commerciële productie van elektrostatische zuignap bereikt en heeft de levering van 4-inch tot 12-inch halfgeleider Fab Elektrostatische klootzakken voltooid.
Beijing Huazhuo Jingke Technology Co., Ltd
De elektrostatische zuigbekers die onafhankelijk door het bedrijf zijn ontwikkeld, voldoen aan de relevante normen en verwerkingVereisten van de halfgeleiderindustrie. De 12-inch PVD-aluminium nitride-elektrostatische zuigbekers ontwikkeld in het vroege stadium hebben tot op zekere hoogte het langetermijnmonopolie van buitenlandse fabrikanten op dit productveld verbroken. Momenteel heeft Huazhuo Jingke de gerelateerde technologie van elektrostatische zuigbekers toegepast op productproductie en kleinschalige massaproductie bereikt. Het kan ook aangepaste producten voor klanten bieden.
Opgericht in 2016, is een toonaangevende leverancier van geavanceerde coatingmaterialen voor de halfgeleiderindustrie. Onze oprichter, een voormalige expert van het Instituut of Materials van de Chinese Academie van Wetenschappen, richtte het bedrijf op met een focus op het ontwikkelen van geavanceerde oplossingen voor de industrie.
Ons belangrijkste productaanbod omvat CVD Silicon Carbide (SIC) coatings, tantalum carbide (TAC) coatings, bulk SIC, sic poeders en hoge zuiverheidssic-materialen. De belangrijkste producten zijn SIC -gecoate grafiet susceptor, voorverwarmingsringen, TAC -gecoate omleidingsring, halfmoononderdelen, enz., De zuiverheid is lager dan 5 ppm, kan voldoen aan de eisen van de klant.
Zhejiang Xinna Materials Technology Co., Ltd
De door IT, ontwikkelde elektrostatische zuignapproducten hebben prestatie -indicatoren die kunnen voldoen aan de eisen van Chip Manufacturing Enterprises. Ze hebben uitstekende eigenschappen zoals controleerbare temperatuur, uniforme adsorptiekracht, geen krassen of rimpels tijdens adsorptie en geen randuitsluitingseffect op wafels. Ze zijn gecertificeerd door toonaangevende binnenlandse halfgeleiderindustrie -ondernemingen zoals Yangtze Memory Technologies, Silan Microelectronics en North China Innovation en hebben verkopen bereikt. Het heeft het monopolie van buitenlandse fabrikanten op dit productveld verbroken.
Hebei Zhongci Electronic Technology Co., Ltd
In 2022 maakte het bedrijf strategische bewegingen op het gebied van precisiekeramische componenten, waardoor de lokalisatie van zeer technische precisieonderdelen zoals verwarmingsplaten en elektrostatische klootzakken werd bereikt. De kerntechnische indicatoren van de keramische verwarmingsplaten ontwikkeld door Zhongci -elektronica hebben het niveau van vergelijkbare internationale producten bereikt en zijn geverifieerd door gebruikers. Ze zijn toegepast in batches in belangrijke binnenlandse halfgeleiderapparatuur. Keramische verwarmingsplaten zijn in bulk geleverd en elektrostatische klootzakken zijn verzonden voor het testen van monsters.


+86-579-87223657


Wangda Road, Ziyang Street, Wuyi County, Jinhua City, provincie Zhejiang, China
Copyright © 2024 VeTek Semiconductor Technology Co., Ltd. Alle rechten voorbehouden.
Links | Sitemap | RSS | XML | Privacy Policy |
